Porsche överraskar med revolutionerande förbränningsmotor. Motorn kan drivas med tre olika bränslen. Och den tillverkar egen vätgas.
Porsche har tidigare argumenterat för att syntetiskt bränsle är vägen framåt. Men nu har den tyska biljätten plötsligt vänt på steken. De har tagit patent på en förbränningsmotor som kan köras på bensin, diesel eller väte. Men det mest häpnadsväckande? Motorn kan tillverka sin egen vätgas, rapporterar Carbuzz.
Trots detta har Porsche inte några planer på att köra motorn helt på väte. I patentet, som lämnats in hos det Tyska patentverket, beskriver Porsche ett “självförsörjande väteförbränningssystem”. Detta system ska kunna hjälpa förbränningsmotorn genom att minska sin gamla fiende: utsläppen vid start. Och det kanske mest galna är att systemet ska använda spolarvätskebehållaren som källa för detta väte.

Förvandla spolarvätska till bränsle
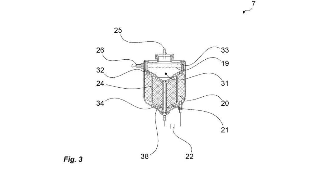
Problemet som Porsche vill lösa är att katalysatorer inte fungerar optimalt förrän de har blivit ordentligt varma. Väte kan användas för att förvärma katalysatorn och hålla den varm under körning. För att göra detta behöver bilen en vätgenerator som tar in vatten och omvandlar det till vätgas som sedan kan användas i motorn. Det är ingen ny idé. Det finns redan kit som tillsätter väte i bilens system för att förbättra bränsleförbränningen. Men Porsche har en twist.
Porsches lösning verkar vara att vätgasen injiceras direkt i motorn, medan minst en cylinder används för att generera heta avgaser som värmer katalysatorn. Patentet nämner specifikt en “Hoffmann-elektrolysapparat”, som är ett av de enklaste sätten att omvandla vatten till väte via elektrolys. Det har enligt uppgifter funnits sedan 1866.

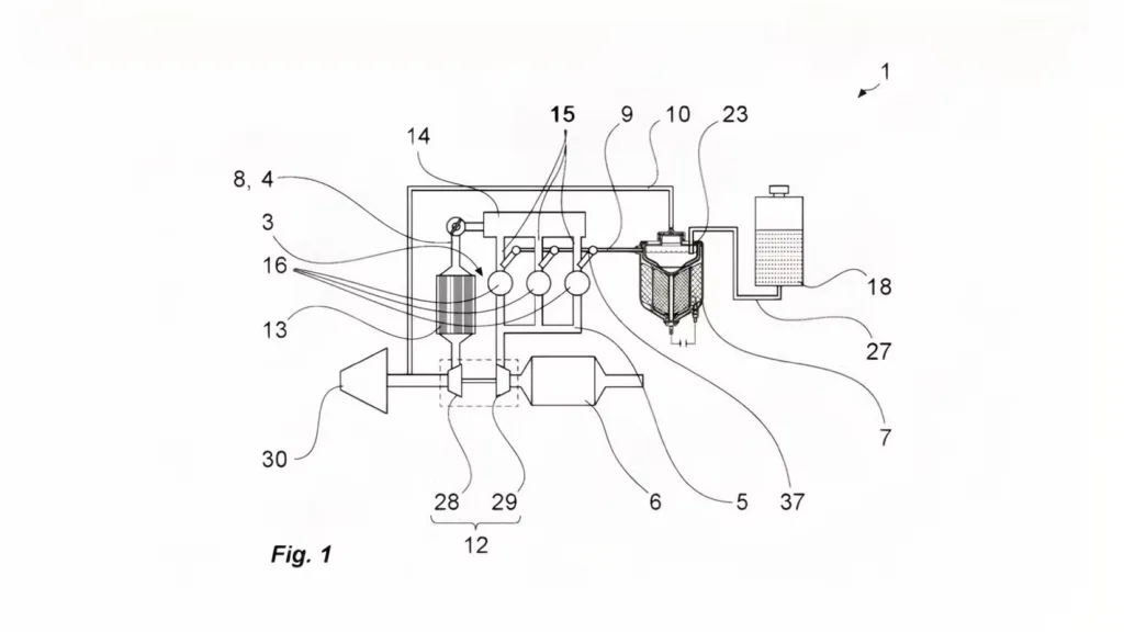
Porsche går till och med så långt att de nämner idén om ett ”Hydrogen Mode” (vät-läge) som styrs av bilen för att förutse när den ska startas, eller för att starta bilen i det läget. Systemet kan då aktivera väteproduktionen i rätt ögonblick. Patentet är också tydligt med att vätgasintaget ska sitta nedströms om en turboladdare och använda ett cylinderspecifikt intag för att undvika ”oönskad antändning”.
Det är mycket komplext juridiskt fackspråk som i grunden handlar om att man lagrar säkert vatten istället för vätgas som lätt kan läcka eller antända. Vattnet görs om till vätgas först när det behövs. Sedan sprutas gasen direkt in i cylindern så att den inte exploderar i insugsröret. Vätgas är visserligen brännbart, men inte nödvändigtvis perfekt för en förbränningsmotor eftersom det lätt exploderar för tidigt.

Istället för att använda en separat behållare för det vatten som behövs för elektrolysen, föreslår Porsche att man använder vindrutans spolarvätsketank. Det uppenbara problemet är att många använder spolarvätska, och på platser med minusgrader kan det vara nödvändigt för att förhindra att vätskan fryser. Porsche nämner inget om uppvärmda spolsystem.
Detta är inget vi direkt väntat oss från Porsche, men det framstår som logiskt när det handlar om att krama ur sista droppen livslängd ur förbränningsmotorn i takt med att utsläppskraven stramas åt alltmer.
Källa: DPMA

Anton Nordgren är en motorintresserad journalist med examen från Umeå Universitet. Han har tidigare arbetat som skribent inom mat och dryck samt som sportjournalist.















