Volvo tar oväntat patent för sina bilar. Den nya finessen kommer förändra bilars inredning helt och hållet.
– Föraren kan inta en annan position än en vanlig körställning, skriver Volvo.
I Göteborg arbetar Volvos ingenjörer intensivt med att få fram nya innovationer för framtida bilmodeller. För ett tag sedan skrev vi på Carup om Volvos patent på en ratt som försvinner in under instrumentpanelen – mitt under körning. Nu kan Carup avslöja att Volvo Cars tagit patent på en ny häftig idé som vänder hela inredningen i en bil.
– Den roterbara plattformen roterar både stolarna och konsolen tillsammans, vilket förbättrar komfort och flexibilitet, skriver Volvo.
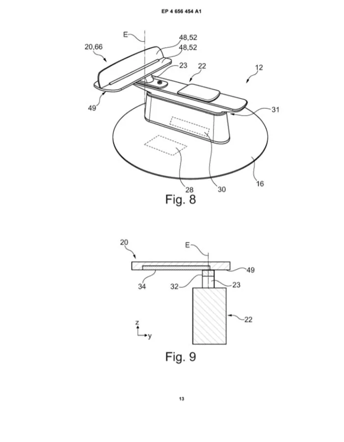
Den roterbara plattform som integreras i golvet på i fordonskupén är särskilt utvecklad för Volvos kommande självkörande bilar. Den kan rotera minst 180 grader och är avsedd att möjliggöra rotation av säten, mittkonsol och annan interiör kring en vertikal axel för att skapa en mer flexibel och användarcentrerad miljö.
– Den kommer öka komforten och flexibiliteten, skriver Volvo.



Med denna helt nya finess som låter nästan som om den kommer från framtiden hoppas Volvo underlätta livet för framtidens bilägare på flera sätt. De hoppas bland annat att tekniken kommer kunna göra en bils inredning mer levande, då passagerare kommer kunna vända sig mot varandra och att bilens skärmar kommer att kunna anpassas.
Säkerhetsmässigt låter denna teknik inte helt bombsäker, men det är något Volvo menar att de också tänkt på. För genom en speciell låsmekanism kommer sätena inte kunna vara roterade på något annat sätt än vanligt när bilen körs manuellt.
– Den roterbara plattformen kan vidare innefatta en låsmekanism… som endast aktiveras i manuellt körläge, skriver Volvo.

LÄS MER:

William Karlsson är examinerad journalist och har bland annat arbetat på Sveriges Radio och Sörmlands Nyheter.















