Corvette har länge hånats för sina gamla bladfjädrar. Men nu avslöjar Porsche en helt ny typ av bladfjädring. Nya super-patentet kombinerar fjädringsblad med en elmotor direkt i hjulet.
Under många år har Corvette blivit hånade för sina bakfjädringsblad. Deras fjädringsblad anses gammaldags och gör att bilen tar kurvor sämre. Men nu har Porsche-ingenjörer tagit fram en helt ny typ av fjädring med fjädringsblad – något som har förvirrat fansen rejält. Den nya lösningen kombinerar bladfjädring med en elmotor placerad direkt i hjulet. Lösningen ersätter de vanliga metallfjädrarna eller luftfjädringskuddarna som traditionellt används i Porschen. Lösningen väntas ge goda fördelar för framtidens elbilar. Och den krisdrabbade jätten Porsche ligger i. De tar även patent på ny super-Turbo.
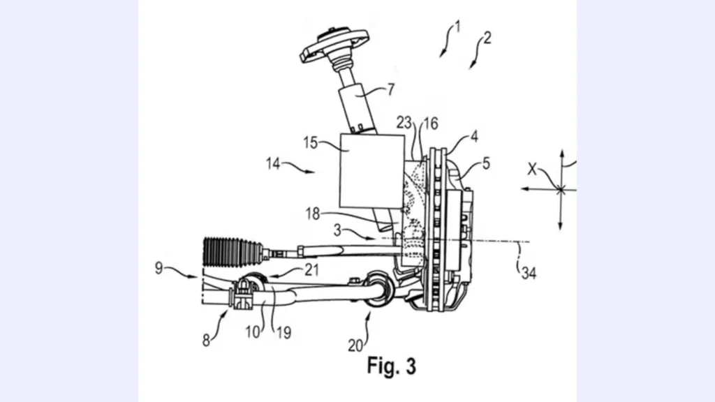
Fördelarna är många. Eftersom fjädringen inte har traditionella fjädrar och fästen kan stötdämparen göras kortare. Det sänker motorhuven och bakskärmarna, vilket frigör plats som kan användas till batterier eller andra delar. Fjädringen har dessutom färre delar, vilket gör bilen lättare. Och den nya bladarmen kan samtidigt göra flera saker. Den dämpar stötar, ger stöd åt fjädringen, låter styvheten justeras och kan ändra markfrigången – utan extra delar.


Bladfjädrarna placeras tvärs över Porschen. De fungerar som nedre kontrollarm och tar upp tryckkraften, medan hjulet fortfarande har en separat stötdämpare. Den nedre bladarmen ska också ha flera funktioner: stabilisering, stötdämpning, justerbar styvhet och möjlighet att ändra markfrigång via två aktiva bussningar. Bussningarna i bladarmen kan både glida horisontellt och ändra sin längd, vilket gör att Porschens fjädring kan anpassa sig efter vägförhållanden.
Troligtvis är den nya tekniken tänkt för framtida enklare elbilsmodeller, som 718. Men patentet kommer även med nackdelar. Mycket tyder på att det är tveksamt om en sådan förenklad fjädring kan ge bättre väghållning än Porsches befintliga lösningar. Men en slutsats kan man dra: många Porsche-fans är förvånade över den nya konstruktionen.

Anton Nordgren är en motorintresserad journalist med examen från Umeå Universitet. Han har tidigare arbetat som skribent inom mat och dryck samt som sportjournalist.















