Christian von Koenigsegg bakom nytt listigt patent. Ny kompressor slår två flugor i en smäll. Höjer effekten och bort vibrationer från motorer.
Ett nytt patent avslöjar nu hur svenska hyperbilstillverkaren Koenigsegg löst ett av motorbyggandets äldsta problem: vibrationer. Genom att medvetet bygga in en obalans i en ny kompressor lyckas man ta bort vibrationer i tre- och femcylindriga motorer – utan att lägga till onödig vikt.
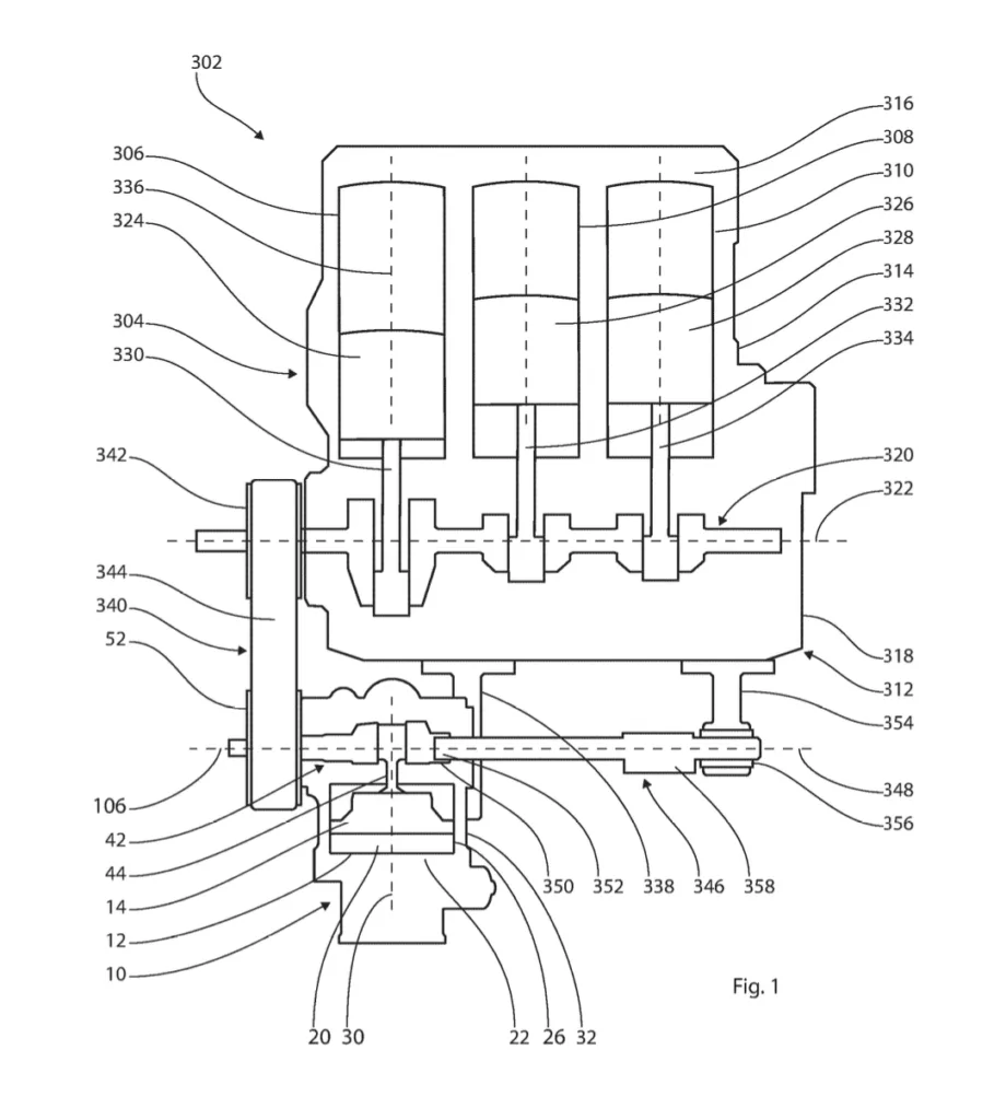
Att balansera en förbränningsmotor, särskilt de med ett udda antal cylindrar som raka treor eller femmor, kräver traditionellt tunga balansaxlar som stjäl både plats och effekt. Men i ett nytt patent (EP 4 726 210 A1) presenterar Koenigsegg Automotive AB en lösning som är både enkel och briljant.

Koenigsegg förvandlar kompressorn till ett balansinstrument för motorn. Den kan både användas för att öka motorns effekt och driva det pneumatiska Freevalve-systemet som Koenigsegg utvecklad. Kompressorn förses med en egen motvikt som skapar en kontrollerad vibration. När denna synkroniseras exakt med motorns rörelser, tar de två vibrationerna ut varandra.
– Förbränningsmotorn är en rak trecylindrig motor eller en rak femcylindrig motor… sådana motorer är kända för att producera betydande vibrationer, såsom gungande och/eller vridande moment, skriver Koenigsegg i patentet.
Genom att använda kompressorn som en motvikt kan man eliminera dessa rörelser. Patentet understryker hur kompressorns kolv används strategiskt:
– Kompressorkolven är konfigurerad att röra sig i en motsatt fas i förhållande till den första kolven i förbränningsmotorn för att motverka vibrationer.

Koenigsegg har tidigare fått stor uppmärksamhet för sin tre-cylindriga ”Tiny Friendly Giant”-motor i modellen Gemera. Den motorn använder Freevalve-teknik, där ventiler styrs av tryckluft istället för kamaxlar. Patentet nämner specifikt att den aktuella kompressorn kan användas för just detta ändamål:
– Kompressorn är en gaskompressor konfigurerad att leverera trycksatt gas till pneumatiskt manövrerade motorventiler i förbränningsmotorn.
Christian von Koenigseggs filosofi har alltid varit att en komponent ska utföra så många uppgifter som möjligt. Patentet förklarar fördelen med att slippa traditionella balansaxlar:
– Genom att integrera en motvikt direkt på kompressorns vevaxel reduceras eller elimineras behovet av separata, tunga balansaxlar inuti motorblocket, vilket leder till en mer kompakt och lätt motorkonstruktion.
För att säkerställa att balansen blir perfekt i alla varvtal använder systemet vad som beskrivs som en styv koppling mellan enheterna.
– Kompressorn är styvt fäst vid motorblocket… vilket gör att motvibrationerna effektivt kan överföras och släcka ut motorns inneboende obalanser.
LÄS MER:

Maths Nilsson är motor- och ekonomijournalist och grundare av Carup, har mångårig erfarenhet från stora mediehus och tidningar. Mer information och kontaktuppgifter





















