Volvo vill förbättra dieselmotorer med en ny kolv. Skapar ny unik utformning som ska ge snålare motorer med mindre utsläpp och bättre prestanda.
– Designen förbättrar swirl utan att skapa turbulens som annars skulle minska verkningsgraden, skriver Volvo Trucks ingenjörer.
Volvo Trucks har satsat hårt på elektriska lastbilar. Men än så länge är köparna ganska svårflörtade. Till skillnad mot elbilar är elektriska lastbilar fortfarande betydligt mycket dyrare än en motsvarighet med förbränningsmotor. Volvo fortsätter nu att satsa på diesellastbilar som kommer att vara betydelsefulla i många år framöver. Nu kommer de med nytt patent som ska ge snålare och renare dieselmotorer med högre effekt.
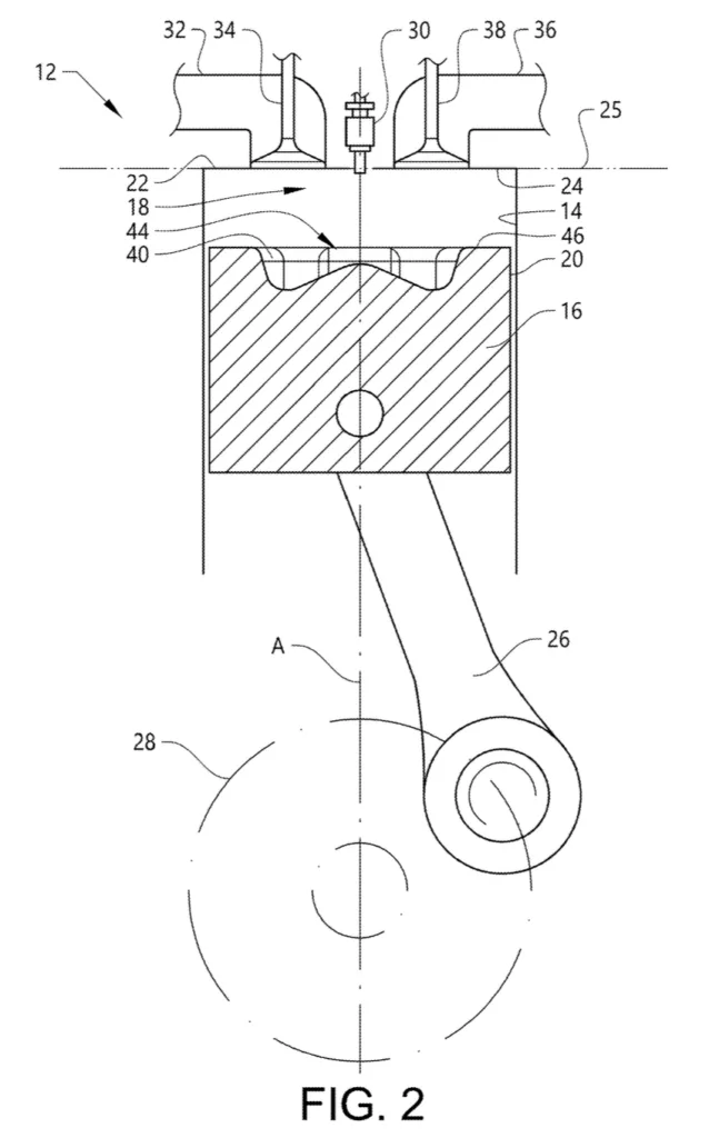
I dag har många av Volvos största lastbilar en 17,3-liters rak sexcylindrig motor. Den kan ha upp till 780 hästkrafter och ett vridmoment på 3 800 Newtonmeter. På en sådan motor är cylindrarna gigantiska. En utmaning är att det kan bli ojämn förbränning och otillräcklig virvelbildning i en så stor cylinder. Men Volvos ingenjörer på Volvo Trucks har löst en stor del av problemet med ett nytt patent på en ny kolv. Redan tidigare har de förbättrad kolvarna, men nu ser de ut att ta ett nytt steg i sitt nya patent.


Genom att förändra kolven helt och och skapa en skålformad urgröpning med flera utsprång ska Volvo skapa en bättre dieselmotor, enligt patentet. Den nya kolven ska göra det lättare att styra luft- och bränsleflödet och skapa virvlar inne i cylindern. Det ska leda till en bättre förbränning och lägre utsläpp. Uppfinnarna uppger också att NOx- och partikelutsläpp kan minskas.
– Varje delande utskjutande del sträcker sig radiellt utåt från kolvens centrum och är konfigurerad för att påverka luft- och bränslefördelningen i kolvskålen, skriver Volvos ingenjörer i patentet.
Kolven har enligt ritningen åtta utsprång från skålens mitt. De lutar inåt och ska styra flödet mot kolvens mitt.
– De delande utsprången är företrädesvis anordnade med lika avstånd runt kolvskålens centrumaxel och har en konkav yta riktad mot centrum, uppger Volvo i patentet.


En ny dieselmotor med de innovativa kolvarna ska kunna ge en bättre förbränning som sänker bränsleförbrukningen och ger bättre prestanda. Den kan också ge jämnare gång genom att det blir mindre variationer i förbränningen mellan olika cylindrar.
– Detta bidrar till att minska variationen mellan cylindrarna, vilket leder till en jämnare motorprestanda.
Volvo anger inte exakt hur stor förbättringen kan bli. Men patentet öppnar upp för effektivare dieselmotorer i stora lastbilar. Volvo har tidigare tagit patent på en kolv med vågformad design som nu finns i D17-motorn som kom 2024. Men det nya patentet ser ut att vara ytterligare ett steg framåt.
LÄS MER:

Maths Nilsson är motor- och ekonomijournalist och grundare av Carup, har mångårig erfarenhet från stora mediehus och tidningar. Mer information och kontaktuppgifter















