Porsche kan ta tillbaka Citroëns klassiska hjulhus – i modern form. Carup kan avslöja ett nytt patent som visar hur de vill täcka över hjulhusen på sportbilar. Stora fördelen är sänkt luftmotstånd – men vad händer med utseendet?
Citroën gjorde skärmar över hjulhusen till sitt signum under flera decennier. Men designgreppet har också funnits på Bugatti, Jaguar och Bentley. I modern tid har det funnits på hybridbilen Honda Insight. De täckta hjulhusen sänker bilens luftmotstånd, men idag har så gott som alla biltillverkare gått ifrån greppet.
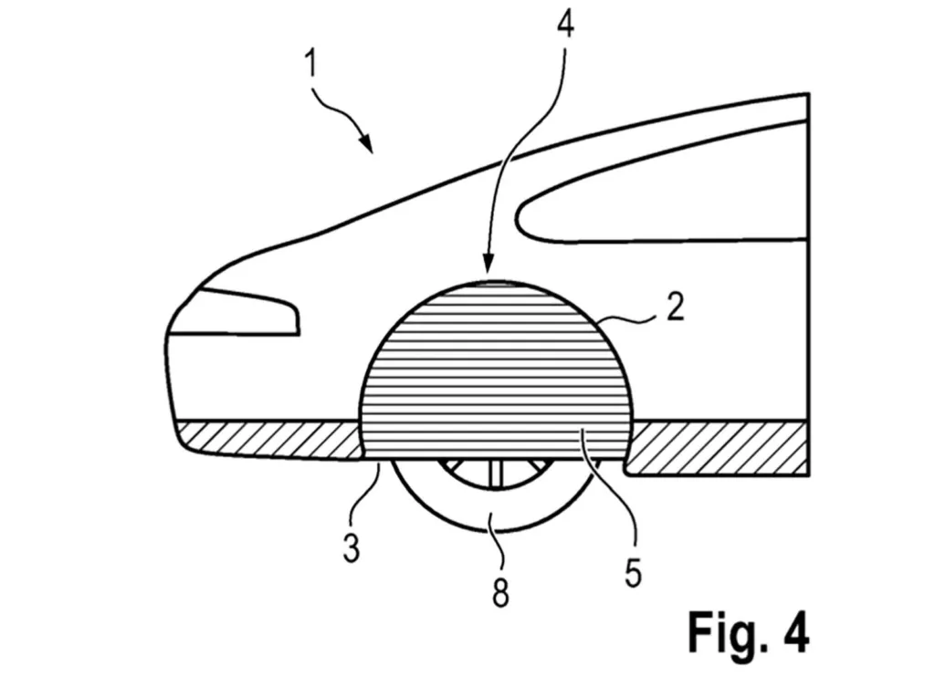
Nu avslöjar ett nytt patent att Porsche har planer på att börja med inkapslade skärmar på bakhjulen. Men i en modern och smartare form. Porsche har sökt patent på öppningsbara hjulskydd. De kan anpassa sig efter fart, körsituation, bromstemperatur, väder eller vägläge.


Syftet är att förbättra aerodynamik, minska energiförbrukning och öka säkerheten. Men med modern teknik kan Porsche öppna hjulhusen när det behövs. De planerar att använda en typ av jalusi. Vid högfartskörning kan det ge bilen bättre egenskaper. Men hjulen ska snabbt kunna öppnas, till exempel om bromsarna behöver kylning, eller vid skarpa svängar.
En dator kommer mäta G-krafter, bromstemperatur, styrvinkel och väder för att räkna ut när hjulhusen behöver öppnas.
– De stängs automatiskt om hastigheten överstiger en gräns, men öppnas igen om ytterligare parametrar – som bromstemperatur eller styrvinkel – indikerar behov, skriver Porsches ingenjörer i patentet.

Målet är att ge elbilar och hybrider bättre räckvidd genom sänkt luftmotstånd. Men även säkerheten ska förbättras genom ökad stabilitet i hög fart. Luckan ska gå blixsnabbt att öppna, till exempel om bilen får sladd eller om bromsarna blir heta.
– En hög tväracceleration kan indikera sladd eller skarp kurvtagning, där ett stängt hjulhus skulle kunna orsaka skada – därför öppnas luckan automatiskt. Om bromstemperaturen når ett fördefinierat tröskelvärde, öppnas förslutningen automatiskt för att möjliggöra bättre kylning, uppger de tyska ingenjörerna.
Den allra första Porschen, Typ 64 från 1931 hade övertäckta hjul både fram och bak. Men frågan är om Porsches kunder är beredda att ta den nya innovationen till sina hjärtan. Hjulskyddet ska dock kunna fällas upp när bilen är parkerad. Men i högre hastigheter förändras de klassiska Porsche-linjerna.
Fotnot: Stora bilden är framställd med hjälp av AI.
LÄS MER:

Maths Nilsson är motor- och ekonomijournalist och grundare av Carup, har mångårig erfarenhet från stora mediehus och tidningar. Mer information och kontaktuppgifter















